

手機:17798235881
網址:www.chembay.com.cn
地址:武漢市東湖高新開發區佳園路18號鼎新工業園2號樓
生產基地:武漢市黃陂區橫店瑞豐工業園
激光切割機光路調整教程
如何調整激光切割機光路?很多新手客戶在購買激光切割機后,對于調整光路這一操作來說,還是比較陌生,不過激光切割機廠家都會對客戶進行培訓服務。但是,也有不少客戶會對操作方法忘記的很快,所以,在這里,高能激光給大家整理了一份關于激光切割機光路調整的教程供大家分享。
為什么要調整光路?
激光切割機自身采用的是飛行式光路系統,在長期的工作時,光路會發生稍微的偏差,會對切割效果有很大的影響。所以,定時的檢查光路以及調整是非常必要的工作。調整激光切割機光路之前,我們要對其中激光管、反射鏡架以及聚焦鏡要有足夠的認識,下面我們先來給大家介紹一下。
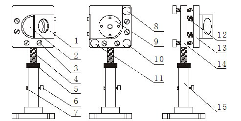
1>.反射鏡架A
1.光靶放置架 2.反射鏡 3.拉簧鎖緊螺絲 4.調節螺桿 5.調節螺母 6.鎖緊螺絲a7.鎖緊螺絲b 8.調節螺絲M1 9.反射鏡鎖緊片 10.調節螺絲M 11.調節螺絲M2.12.拉簧 13.反射鏡安裝板 14.支撐板 15.底座.
2>.反射鏡架B (其安裝底板與A鏡架不同外其余相同)。
1.安裝底板(可左右移動).2.鎖緊螺絲
3>.反射鏡架C
1.反射鏡調整板 2.反射鏡 3.鎖緊螺絲 4.調節螺絲M1 5. 反射鏡調整板6.反射鏡壓緊板 7.調節螺絲M 8.鎖緊螺絲 9.調節螺絲M2
4>.聚焦鏡
1.聚焦鏡內筒 2.進氣管 3.限位螺圈 4.氣嘴過渡套5.氣嘴 6.鏡筒 7.限位螺絲 8.調節套筒.
了解了各個部件的名稱,下面我們就來教大家調整激光切割機光路的方法:
(一) 四道光路調整
(1)第一道光的調整,用美紋紙貼在反射鏡A的調光靶孔上,手動點動出光(注此時功率不要用太大),微調反射鏡A的底座及激光管支架,使光打在靶孔中心,注意光不能被擋。
(2)第二道光的調整,將反射鏡B移至遠程,用張硬紙板由近至遠出光,把光導進十字光靶里,因為遠程光在靶里邊則近端一定在靶里邊,接著把近端和遠程光斑調為一致,即近端怎偏,遠程也跟著怎么偏,使十字架在近端和遠程光斑中都處在同一個位置即近是(遠是)說明光路與Y軸導軌平行。
(3)第三道光的調整(注:十字架將光斑左右對分),將反射鏡C移至遠程,把光導進光靶,在進端與遠程各打靶一次,對比十字架的位置調成跟近端光斑中十字架的位置一樣,這時表明光束與X軸平行。此時光路偏里或外,則需將鏡架B上的M1、M2、M3同松或緊,直至左右對分。
(4)第四道光的調整,用一塊美紋紙粘在出光口上,使出光孔在膠紙上留下一個圓形痕跡,點動出光,取下膠紙觀察小孔位置,視情況調節鏡架C上的M1、M2、M3直至光斑圓且正為止。
(二) 焦距的測量方法:用我們激光切割機廠家配的焦距尺,將噴嘴上下升降放在焦距尺的數字5上面,此時的光是最亮最強的,然后緊鎖螺絲。
(三) 以四方塊所示(如圖)
(1)切割面往左偏,激光頭太低或垂直光反射鏡太高,如圖標向D面斜,說明光偏低,二種解決方法:1、放低垂直光反射鏡C,將M1、M2、M3同時逆時針轉;2、升高激光管(順時針)(2)切割面往右偏,激光頭太高或垂直光反射鏡C太低,如圖標向B面斜,說明光偏高,二種解決方法:1、抬高垂直光反射鏡C,將M1、M2、M3同時順時針轉;2、降低激光管(逆時針)(3)切割面偏里,激光進垂直光反射鏡偏外或反射鏡座B偏外,如圖標向A面斜,說明光路偏外,二種解決方法:1、調進反射鏡座B,2、將反射鏡B上的M1、M2、M3同時調進(順時針)(4)切割面偏外,激光進垂直光射鏡偏里或反射鏡座B偏里,如圖標向C面斜,說明光路偏里,二種解決方法:1、調出反射鏡座B,2、將反射鏡B上的M1、M2、M3同時調出(逆時針)。

